编辑:广州市公安局治安支队 更新时间:2020-07-02 11:49:19 点击:0次



准备材料:
1“营业执照”或“事业单位法人证书”扫描件。
2其他资质证书的扫描件(可选项目,企业根据实际情况选择)。
3法人姓名、证件号、联系电话等信息。
4用于交易易制爆化学品的银行账户信息。
5辖区责任民警信息。
6企业联系人姓名及联系电话。
7治安保卫负责人姓名及联系电话。

注意事项:
1、法人为大陆居民的,统一填写居民身份证信息。法人不是大陆居民的,可选择“其他证件”填写信息。
2、“经纬度”项不需要直接填写,点击旁边的图标后在地图上选择位置确定即可。
3、化学品信息需将企业涉及的易制爆化学品品种都录入,若企业实际上涉及的物品没有录入,则在后续的操作中无法选择到此物品进行操作。
4、化学品品种可根据实际情况增加,点击“添加”按钮即可。
5、每个品种的化学品均需勾选涉及的环节。例如买回来存放在储存场所日常使用的则应勾选“储存”及“使用”。
6、附件资质有效期为长期的,则勾选“长期”选项即可。
7、同一企业只能存在一个基础信息备案记录,如已登记的信息发生更改可在原记录基础上进行变更。
8、需先完成基础信息备案才能进行后续的“人员信息备案”和“储存场所信息备案”。
三、人员信息备案
准备材料:
1从业人员一寸彩色照(图像格式)。
2从业人员身份证面正面扫描件。
3从业人员身份证面背面扫描件。
4从业人员的姓名、联系电话、证件号码、居住地等信息。


注意事项:
1、进行从业人员备案前需先设置部门组织结构,在【企业信息】--【部门组织结构】页面下可创建。
2、带红色*号的为必填项,不带红色*号的可选填。
3、从业人员类型可多选。
4、从业人员简历填写人员从事易制爆化学品相关工作的经历即可。
5、从业人员信息需要逐一录入,录完一个人后可继续录入下一个人。
四、储存场所备案
准备材料:
1存放场所平面图(当储存场所类型为“虚拟”或储存场所规模为“小剂量”时不需要上传)
2储存场所安评报告(当储存场所类型为“虚拟”或储存场所规模为“小剂量”时不需要上传)
3储存场所面积、地址、监控情况、报警装置等信息


注意事项:
1、储存场所辖区机关请根据实际情况选择,可以企业注册所在地不一致。
2、储存场所地理区划请根据实际情况选择,可以企业注册所在地不一致。
3、物品信息仅需录入当前有储存的物品,未储存的物品不需要录入。
4、物品信息中的初始数量是指企业在登记时该物品的剩余量,系统在此值的基础上根据企业登记的入库和出库进行增减,填写时注意计量单位。
5、储存的物品品种可根据实际情况增加,点击“添加物品”按钮即可。
第三节 购买阶段
依据公安部《易制爆危险化学品治安管理办法》进行购买。
学校购买易制爆危险化学品的,应当向销售单位出具以下材料:
(一)本单位《工商营业执照》《事业单位法人证书》等合法证明复印件、经办人身份证明复印件;
(二)易制爆危险化学品合法用途说明,说明应当包含具体用途、品种、数量等内容。
严禁个人购买易制爆危险化学品。
第四节 登记阶段
依据公安部《易制爆危险化学品治安管理办法》进行如实登记。
学校应当如实登记易制爆危险化学品购买、出入库、领取、使用、归还、处置等信息,并录入易制爆危险化学品信息系统。
第二章 剧毒化学品
剧毒化学品指剧毒化学品是具有剧烈急性毒性危害的化学品,包括人工合成的化学品及其混合物和天然毒素,还包括具有急性毒性易造成公共安全危害的化学品,具体品名以国家最新公布的《剧毒化学品目录》(2015)为准。其中《危险化学品安全管理条例》第二十三条规定:生产、储存剧毒化学品或者国务院公安部门规定的可用于制造爆炸物品的危险化学品(以下简称易制爆危险化学品)的单位,应当如实记录其生产、储存的剧毒化学品、易制爆危险化学品的数量、流向,并采取必要的安全防范措施,防止剧毒化学品、易制爆危险化学品丢失或者被盗;发现剧毒化学品、易制爆危险化学品丢失或者被盗的,应当立即向当地公安机关报告。
购买剧毒化学品流程:备案→购买→登记
第一节 基础备案阶段
电子(系统)备案前先到辖区公安机关进行纸质资料的备案,待辖区公安分局对储存场所进行检验合格后,再进行电子(系统)备案。
一、备案咨询
学校可以到所在区的公安分局治安管理大队咨询剧毒化学品备案情况以及备案所需准备资料,也可以用其他方式咨询。
二、备案资料审核
辖区分局治安大队收到备案资料后,将对资料格式、内容逐一进行审核,备案资料应根据以下顺序装订成册(一式四份)
1剧毒化学品从业单位登记备案表
2广州市剧毒化学品从业单位登记备案表
3广州市剧毒化学品从业单位人员备案登记表
4剧毒化学品购买凭证、准购证申请审核表
5企业法人营业执照复印件
6许可证明材料复印件(a.生产单位:安全生产许可证或批准书b.经营单位:危险化学品经营许可证(甲种) c.储存单位:储存许可证)
7剧毒化学品储存使用场所平面图或照片
8剧毒化学品安全管理规定
9剧毒化学品事故应急救援预案
10环保部门核发的排放污染物许可证(非必须项)
11工业废物处理合同(非必须项)
12法人及安全管理负责人员身份证复印件
13剧毒化学品从业人员上岗资格证明复印件
三、现场查验
备案资料审核后辖区分局应到学校进行现场查验,查验工作按以下步骤进行。
①查验资料。应查验所有备案资料的复印件是否与原件一致,并补充所缺资料;
②检查剧毒化学品储存场所是否符合条件(《剧毒化学品、放射源存放场所治安防范要求》(GA1002-2012)。按剧毒化学品安全检查工作规范,对仓库进行检查,重点检查安全设施是否齐全并处于良好工作状态,是否配备个人防护、消防(灭火器、消防池、消防沙)、人防、物防、技防制度是否落实等内容;
③隐患整改。对检查发现的安全隐患(包括制度落实、人防、物防、技防措施)要求学校整改落实。
第二节 电子(系统)备案阶段
一、学校注册
流程:注册----学校信息备案---从业人员备案---储存场所备案
注册:注册地址 https://gdjd.wxhxp.cn:5600
准备材料:“营业执照”或“事业单位法人证书”扫描件。


注意事项:
1、单位名称需与证件名称一致,切勿填写简称。
2、从业单位类别是相对剧毒化学品而言,如购买易剧毒化学品使用的属于“使用单位”。
3、辖区公安机关请选择到派出所级别。
4、上传的“营业执照”要求清晰可辨,无营业执照的单位请上传“事业单位法人证书”。
5、注册完成后,联系系统客服进行激活,激活后即可登入系统。
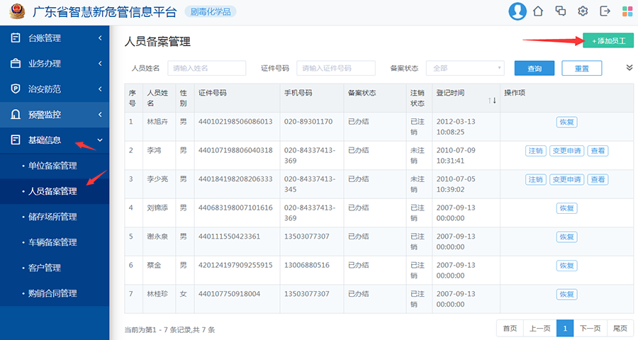
二、 学校信息备案
登入系统之后,可通过左侧菜单【基础信息】进入对应信息备案功能模块,如下图:

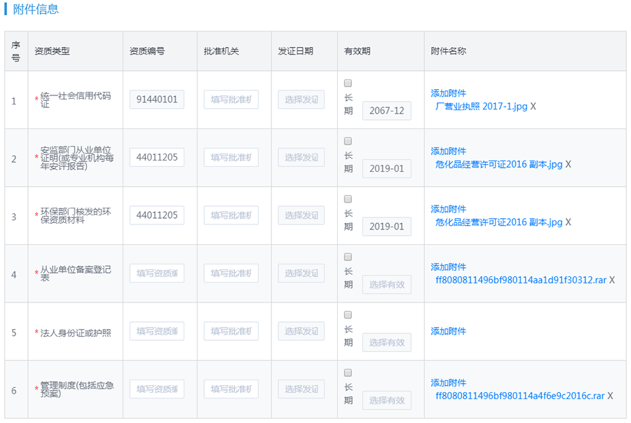
准备材料:
1统一社会信用代码证”扫描件。
2安监部门从业单位证明(或专业机构每年安评报告)扫描件。
3环保部门核发的环保资质材料扫描件。
4《从业单位备案登记表》扫描件。
5法人姓名、证件号、联系电话等信息及身份证明扫描件。
6相关管理制度(包括应急预案)扫描件。
7用于交易剧毒化学品的银行账户信息。
8辖区责任民警信息。
9企业联系人姓名及联系电话。
10治安保卫负责人姓名及联系电话。




注意事项:
1、“经纬度”项不需要直接填写,点击旁边的图标后在地图上选择位置确定即可。
2、化学品信息需将企业涉及的剧毒化学品品种都录入,若企业实际上涉及的物品没有录入,则在后续的操作中无法选择到此物品进行操作。
3、化学品品种可根据实际情况增加,点击“添加物品”按钮即可。
4、每个品种的化学品均需勾选涉及的环节。例如买回来存放在储存场所日常使用的则应勾选“储存”及“使用”。
5、附件资质有效期为长期的,则勾选“长期”选项即可。
6、同一企业只能存在一个基础信息备案记录,如已登记的信息发生更改可在原记录基础上进行变更。
7、需先完成基础信息备案才能进行后续的“人员信息备案”和“储存场所信息备案”。
三、人员信息备案
准备材料:
1从业人员一寸彩色照(图像格式)。
2从业人员身份证明扫描件。
3从业人员《从业人员资格证》扫描件(可选,非必传)。
4从业人员的姓名、联系电话、证件号码、居住地等信息。


注意事项:
1、带红色*号的为必填项,不带红色*号的可选填。
2、从业人员类型可多选,但治安保卫员不能兼任其他岗位。
3、至少备案两名保管员。
4、从业人员简历填写人员从事剧毒化学品相关工作的经历即可。
5、从业人员信息需要逐一录入,录完一个人后可继续录入下一个人。
四、储存场所备案
准备材料:
1储存场所平面图(当储存场所类型为“虚拟”时不需要上传)。
2储存场所安评报告扫描件(选填项,可不传)。
3储存场所面积、地址、监控情况、报警装置等信息

注意事项:
1、储存场所辖区机关请根据实际情况选择,可以企业注册所在地不一致。
2、储存场所地理区划请根据实际情况选择,可以企业注册所在地不一致。
3、物品信息仅需录入当前有储存的物品,未储存的物品不需要录入。
4、物品信息中的初始数量是指企业在登记时该物品的剩余量,系统在此值的基础上根据企业登记的入库和出库进行增减,填写时注意计量单位。
5、储存的物品品种可根据实际情况增加,点击“添加物品”按钮即可。
第三节 购买阶段
依据《危险化学品管理条例》进行购买。
备案完成后,学校可在广东省剧毒化学品信息管理系统申请购买凭证,3天内公安机关做出审批决定,凭证进行购买活动。
严禁个人购买剧毒化学品。
第四节 登记阶段
依据《危险化学品管理条例》进行如实登记。
学校应当如实登记剧毒化学品购买、出入库、领取、使用、归还、处置等信息,并录入计算机信息系统。